unbeliever
[ Λnbilí:v∂r ]
2. 믿지 않는 사람
3. 신앙 없는 사람
예문 5
이런 단어도 공부해 보세요
obligation
[ àbl∂géi∫∂n|öb- ]
include
[ inklú:d ]
contract
[ kάntrækt|kön- ]
less
[ les ]
dislodge
[ dislάdğ|-lödğ ]
deductible
[ didΛkt∂bl ]
이시간 주요 뉴스

HD한국조선해양, 초대형 원유운반선 2척 수주…3600억 원 규모
HD현대중공업이 건조해 인도한 원유운반선의 모습. HD현대 제공HD현대의 조선 중간 지주사인 HD한국조선해양…

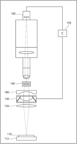
황호식 교수, 다초점 인공수정체 평가 장치 미국 특허 등록
[이데일리 이순용 기자] 가톨릭대학교 여의도성모 안과병원 황호식 교수가 지난 9월 23일 다초점 인공수정체 평가 장치 ‘Optical bench tester for multifoc

사연자男, 여친 있는데 바람+원나잇만 50번..서장훈 "개똥같은 소리"(물어보살)
[OSEN=하수정 기자] 오늘(20일) 밤 8시 30분 방송되는 KBS Joy ‘무엇이든 물어보살’ 337회에는 4년째 연애 중인 커플 사연자가 출연해 사연을 전한다. 남성은 여자

바다, 손절설 슈 직접 입열었다.."S.E.S. 컴백? 자연스러운 때 기다려"(4인용식탁)
[OSEN=하수정 기자] 오늘(20일) 저녁 8시 10분 채널A ‘절친 토큐멘터리–4인용식탁’에서는 1세대 원조 아이돌 가수 바다가 유진과 브라이언을 초대한다. 이날 바다는 올리비

"코인으로 기부하세요"…코빗, 세이브더칠드런과 업무협약 체결
코빗 제공.가상자산 거래소 코빗이 비정부기구NGO 세이브더칠드런과 가상자산 기부 문화 활성화·아동 보호를 위한 업무협약…